
- 국립국어원 표준국어대사전
0. 대기오염에 관한 흥미로운 사실들
- 황사에 대한 최초의 기록은 174년 신라 시대에 우토(雨土)라는 이름으로 등장합니다.
- 최근(2017년) 서울 미세먼지(PM10)와 초미세먼지(PM2.5)는 1990년대에 비해 오히려 절반 가까이 줄어들었어요.
- 놀랍게도 1970년대 중반까지만 해도 중국의 하늘은 맑았습니다. 제조업 기반의 경제 급속 성장을 하면서 에너지의 대부분은 석탄으로 충족하기 때문에 지금의 모습이 된 것이죠.
- 미국에서 대기 오염 규제법이 생기게 된 배경에는 1948년 발생한 도노라 스모그 사건이 있어요. 당시 주민 70명이 사망하고, 6천여 명이 이상 증상을 보였고, 도노라는 10년이 지난 후에도 다른 지역에 비해 높은 사망률을 보였죠.
- 영국은 스모그와 많은 석탄 매장량 덕분에 옛날부터 대기 오염이 심각했습니다. 1301년 대기오염을 참다못한 에드워드 1세가 석탄을 사용 시 사형을 하게끔 법을 제정했어요. 하지만 그런데도 석탄 사용량은 줄지 않았는데요, 나무 땔감보다 석탄이 훨씬 저렴했기 때문이죠.
1. 최초의 공기청정기는 화력발전소 굴뚝 설치용

19세기 산업혁명이 본격화되면서 수많은 공장이 생겨났습니다. 오늘날 공장은 정부에서 산업단지를 조성해 모여있는데요. 당시에는 원료 공급이 수월하거나 사람이 많은 곳에 그냥 공장을 세웠죠. 그러다 보니 자연스럽게 인구가 많고, 교통이 좋은 대도시에 수많은 공장이 세워졌어요. 심지어 런던에는 버킹엄 궁전 옆에도 커다란 모직공장이 있었죠. 이때는 석탄으로 공장을 가동했기 때문에 대도시는 석탄 그을음과 유독가스가 섞인 매연 문제가 심각했어요.
이 문제를 해결하기 위해 1912년 미국의 과학자 프레드릭 코트렐(Frederick G. Cottrell) 박사가 전기집진기를 발명합니다. 이 전기집진기는 화력발전소 굴뚝에 부착하는 것으로, 정전기를 이용해 초고열의 미세한 연기 입자들을 걸러낼 수 있었죠.
2. 방사능 분진도 정화하는 필터

제1차 세계대전이 끝난 뒤 미국, 일본 및 유럽의 강대국들은 군비 경쟁에 열을 올리고 있었습니다. 그중 미국은 소모적인 군비 경쟁을 단번에 해결할 수 있는 아주 강력한 무기의 필요성을 느끼게 되었는데요, 이것이 바로 원자폭탄 개발을 논의한 맨해튼 프로젝트의 시작이었죠.
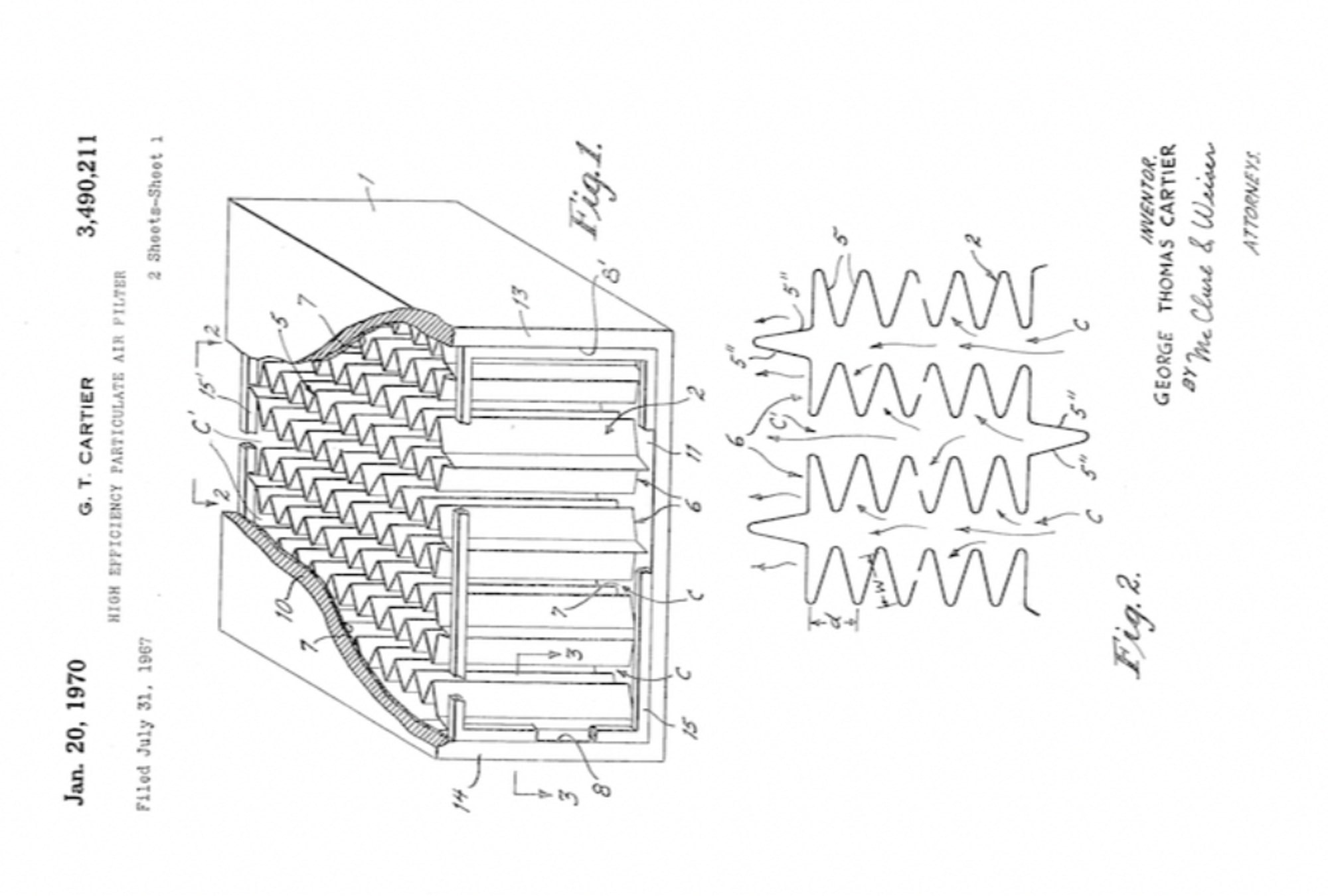
하지만 이 맨해튼 프로젝트는 미국 내에서도 거센 반대에 부딪혔는데요. 혹시나 발생할 수 있는 원자력 사고와 방사능 분진에 대한 우려 때문이었죠. 따라서 맨해튼 프로젝트를 수행하기 위해서는 무엇보다 방사능 관련 개발자들을 보호하기 위한 공기정화 시스템이 필요했는데요. 그렇게 해서 개발된 것이 바로 ‘해파(HEPA)’ 필터입니다.해파(HEPA)는 '고효율 분진 공기(High Efficiency Particulate Air)'의 앞글자를 따 만든 용어인데요. 수많은 주름 필터가 여러 겹을 이뤄 유해한 입자를 걸러내는 필터를 말하죠. 오늘날에도 해파필터는 많은 곳에 쓰이고 있습니다.
3. 일반 사람들을 위한 공기청정기


곧이어 특수한 공업 및 산업 분야뿐만 아니라 일반 노동자들에게도 공기정화의 필요성이 제기되었는데요. 고층 빌딩이 생기기 시작하면서, 하루종일 좁고 밀폐된 공간에서 근무하는 사람이 많아졌기 때문이었죠. 또한 1955년 미국에서는 대기오염 통제법이 제정되어 많은 사람이 공기 질에 관심을 가지게 되었어요.
공기 청정기에 대한 많은 사람의 수요가 생겨나자 이미 개발되어 있던 전기집진기와 헤파 필터를 이용해 사무용 공기청정기가 만들어졌죠. 초기 사무용 공기청정기는 주로 건물 내부에 내장되어, 건축 과정에서 함께 지어졌어요.
사무실에서 공기 청정 시스템이 도입되자 일반 가정에서도 공기 청정에 대한 수요가 늘어났어요. 가정용은 공업용, 사무용과 달리 하나의 가전제품으로 개발되기 시작했죠. 최초의 가정용 공기청정기 특허는 1961년 알반 바락(Alvan Barach)가 낸 것으로 알려져 있는데요. 사실 알반 바락은 환자용 산소마스크를 개발한 것으로 더 유명합니다.
4. 삼성전자에서 시작된 국내 공기청정기 시장


국내에서 최초로 개발된 공기청정기는 1976년 삼성전자에서 나온 것으로 연구기관, 병원 등 특수시설을 위한 장비였죠. 가정용 공기청정기는 1980년대부터 본격적으로 개발되기 시작합니다. 1981년 한우전자에서 음이온 공기청정기를 개발한 것을 시작으로, 1987년 금성(현재는 LG)의 에어 클리닉, 1989년 삼성전자에서 공기청정기를 출시했어요.
가정용 공기청정기는 1980년대에는 새집증후군, 2000년대에는 황사, 2010년대에는 미세먼지가 국민 관심사가 되면서 점차 시장을 키워왔죠.
원문: 사소한 것들의 역사
참고
- 김동환 『오늘도 미세먼지 나쁨』(2018), 휴머니스트
- Alvan L Barach, William B Hall. US Patent 2994405A, filed Dec 31, 1958, Issued Aug 1, 1961
- 조문희 「80·90년대에도 '미세먼지 경고' 계속됐다」(2018), 시사저널
- 김태웅 「가정용 '공기청정기' 어떻게 필수 가전제품이 되었나?」(2021)
